| Schon gewusst, ... |
| Die IG FTF erhebt und speichert personenbezogene Daten ihrer Mitglieder unzugänglich für Unbefugte, gibt diese weder an Dritte weiter noch werden sie zu anderen als den bestimmungsgemäßen Zwecken genutzt. Minimale Informationen sind allen Mitgliedern und sehr begrenzt für Besucher erkennbar. Mitglieder haben Anspruch auf umfassende Information und Korrektur der gespeicherten Daten; als Autoren verzichten sie auf das Recht zur Löschung der Stammdaten. Wer das nicht will, darf kein Mitglied werden. Alle nichtöffentlichen Bereiche sind nur den verifizierten Mitgliedern zugänglich.> |
Aktuelles Datum und Uhrzeit: 19.12.2025, 18:34
Alle Zeiten sind GMT - 2
|
| Autor |
Nachricht |
TipFox
Moderator
Status:  Eintritt: 06.04.2006 Mitgliedsnr.: 11 Beiträge: 1733 #: 70 BL: NRW 
|
1/2, Verfasst am: 02.01.2009, 15:32
Betreff:
Pr?fgenerator Opta Kleinpr?fGerät Typ 4121
|
|
|
- Amplitudenmodulierte Hochfrequenz, im Pegel einstellbar
- 7 Festfrequenzen, 1 variabler Bereich
- Modulationsfrequenz 50Hz
- NF-Prüfspannung 50Hz
- Durchgangspr?fung (Leitungspr?fung) mit Gl?hbirnchen als Indikator
Das ist in Kurzform, was das Kleinpr?fGerät 4121 von Loewe-Opta ( 1947) an Leistungsmerkmalen bietet - Details bitte dem beigefügten Handbuch entnehmen.
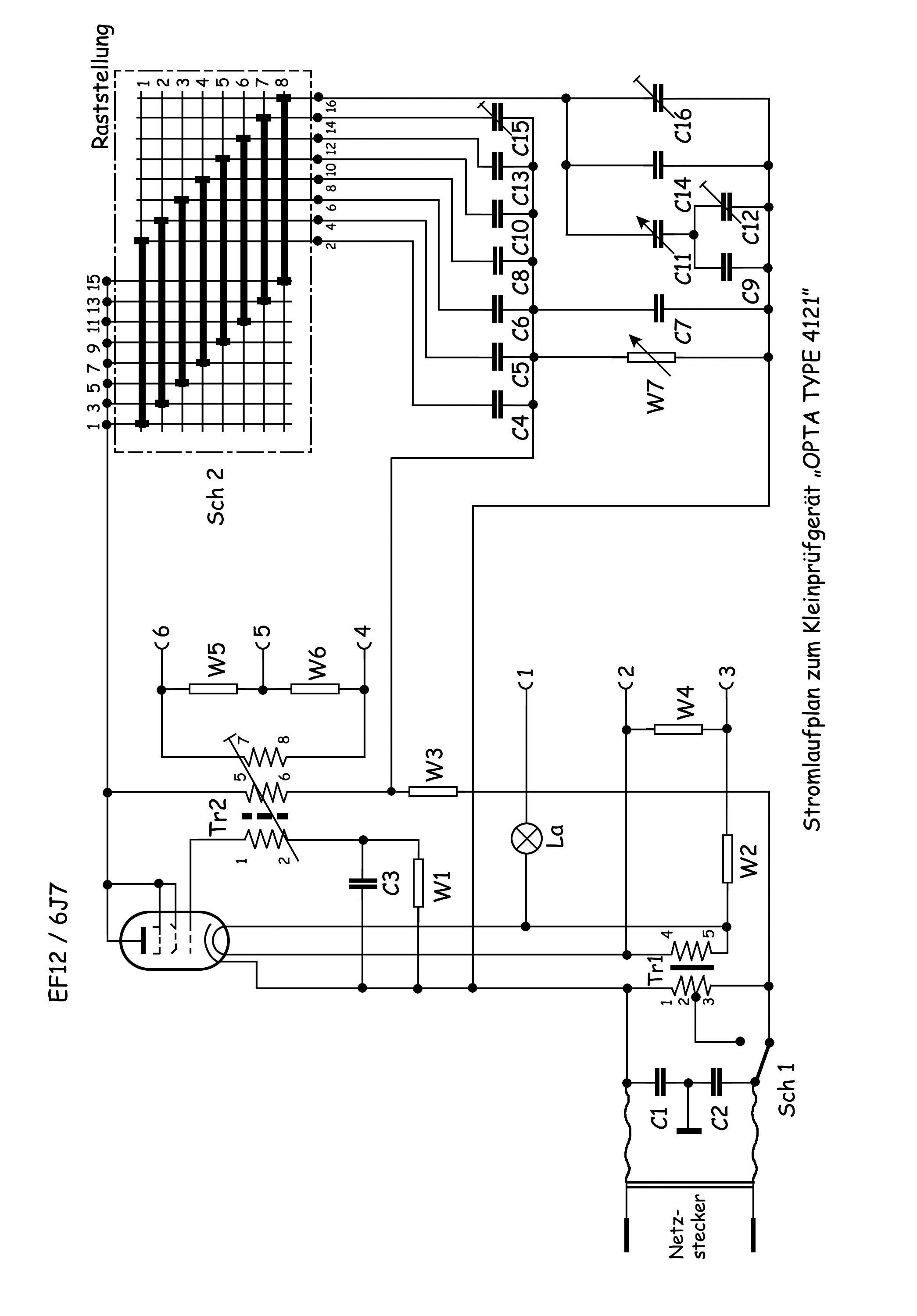
Die Bestückung besteht nur aus einer einzigen Röhre, eine EF12. Die Heizspannung wird aus einem Transformator gewonnen und gleichzeitig zur Leitungspr?fung verwendet. über einen Spannungsteiler wird daraus zusätzlich auch noch eine 50Hz NF-Spannung erzeugt.
Die Anodenspannung kommt direkt aus dem Netz ( umschaltbar 110/220V ) und wird nur in der EF12 gleichgerichtet - damit liegt die Modulationsfrequenz natürlich auch bei 50 Hz. Es erfolgt zwar eine Netztrennung gegenüber allen Bedienelementen und Buchsen (durch den HF-Trafo) - aber darauf würde ich mich nur ungerne verlassen ...
Das Gerät steckt in einem kleinen Holzkasten und kann durch Lösen von 2 Schrauben am Boden problemlos herausgenommen werden.
Das Gerät lief zun?cht einmal nicht, weil der Spulensatz sich vermutlich durch einen Sturz gelöst hatte und die Drähte teilweise abgerissen waren. Nachdem das gerichtet war, funktionierte das Gerät sofort. Restaurationsma?nahmen werden nicht erfolgen - das Gerät hat bei mir seinen endgültigen Ruheplatz gefunden. So etwas benutzt man nicht mehr!
Daher bleibt selbst die "zerfledderte" Netzschnur am Gerät und es kommt auch kein Stecker daran...
Doch schaut es Euch mal selber an :
Ein Beweis, das damals "die Uhren anders gingen" ist diese Kabeldurchf?hrung, die ein Durchscheuern des Netzkabels verhindern soll.
Heute dagegen erhält man oft Geräte, an deren Kanten man sich die Finger aufschneidet, weil selbst Entgraten das Produkt unrentabel macht...
Unter dem Gerät klebt noch eine alte Eichtabelle -leider kaum noch lesbar. ( rechts eine nachberechnete Version )
Und hier zum eigentlich Interessanten - dem Innenleben, aus allen Himmelsrichtungen :
Das Logo oder Emblem auf der EF12 sagt mir als ''Röhrenlaie'' nichts - vielleicht kennt es hier jemand ?
Hier gibt es das Handbuch ( Multipage-Tiff, falls der Browser es nicht anzeigt: Datei downloaden und mit z.B. IrFanView ansehen ) und
Hier noch ein restaurierter Schaltplan...
Wie ich finde, ein interessantes Stück - auch wenn ich so meine Zweifel habe, dass der Anwender damit sehr glücklich geworden ist. 50Hz ist eine Frequenz, die an der untersten Grenze dessen liegt, was damals Radios/Lautsprecher übertragen konnten - und zwar oft gewollt (Brummverminderung).
Insofern dürfte mit diesem Gerät nicht mehr als ein grundsätzlicher Funktionstest sinnvoll sein.
Aber für den mobilen Service reicht das ja  _________________ Gruß TipFox Zuletzt bearbeitet von TipFox am 09.10.2018, 05:18, insgesamt 3-mal bearbeitet |
|
|
Nach oben
|
|
 |
MGW51
Site Admin
Status:  Eintritt: 12.03.2006 Mitgliedsnr.: 2 Beiträge: 5098 #: 74 BL: Sachsen 
|
2/2, Verfasst am: 01.04.2011, 22:00
Betreff:
|
|
|
Dei EF 12 stammt ais dem Röhrenwerk M?hlhausen. In diesem Betrieb wurde etwa um 1965...68 herum die gesamte Fertigung der Alttypen wie Stahlröhren und Oktalröhren konzentriert. später wurde dann der VEB Mikroelektronik aus diesem Betrieb. _________________ Grüße aus der Lausitz von MichaelZ.
Die Reform der Rechtschreibung ist ein Symptom dafür, daß die Deutschen ihre Sprache nicht lieben.
(Eugen Ruge, Schriftsteller, 2018) |
|
|
Nach oben
|
|
 |
|
|
|
Du kannst keine Beiträge in diesem Bereich schreiben. Du kannst auf Beiträge in diesem Bereich nicht antworten. Du kannst deine Beiträge in diesem Bereich nicht bearbeiten. Du kannst deine Beiträge in diesem Bereich nicht löschen. Du kannst an Umfragen in diesem Bereich nicht mitmachen.
|
|
|

Unsere Software nutzt mehr als 70 Erweiterungen, von der großen Mod bis zum kleinsten Snippet. Wir bedanken uns für das Engagement bei:
AbelaJohnB, Acid, acoolwelshbloke, AmigaLink, asdil12, AWSW, blubbin, Brewjah, CBACK, Chaze, DimitriSeitz, Flance, Flipper, FuNEnD3R, Hainer, Jamer, Leuchte, Mac, MagMo, mgutt, mitsubishi,
mosymuis, Niels, Nivisec, Nuttzy, OXPUS, PhilippK, Pthiirk, romans1423, R.U.Serious, S2B, Saerdnaer, scheibenbrot, SlapShot434, Smartor, spooky2280, Tuxman, ultima528, Underhill,
Wicher, ycl6, ~HG~.
phpBB 2 © 2001, 2005 phpBB Group; deutsche Übersetzung: phpBB.de & IG-FTF; Konfiguration & Layout: IG-FTF © 2009, 2013
Vielen Dank für Ihre Visite bei der Interessengemeinschaft Funk-Technik-Freunde!
Bitte besuchen Sie auch die HP Tonaufzeichnung, das Original von Ralf Rankers,
verantwortlich betreut und fortgeführt von der Interessengemeinschaft.
Impressum
|